杏吧视频

杏吧视频
杏吧视频 主任信箱 ENGLISH
研究生教育



研究生教育
研究生招生 培养工作 学位工作 导师工作 同等学力 学科建设 常用流程 规章制度 相关下载
首页 - 研究生教育 - 常用流程 -
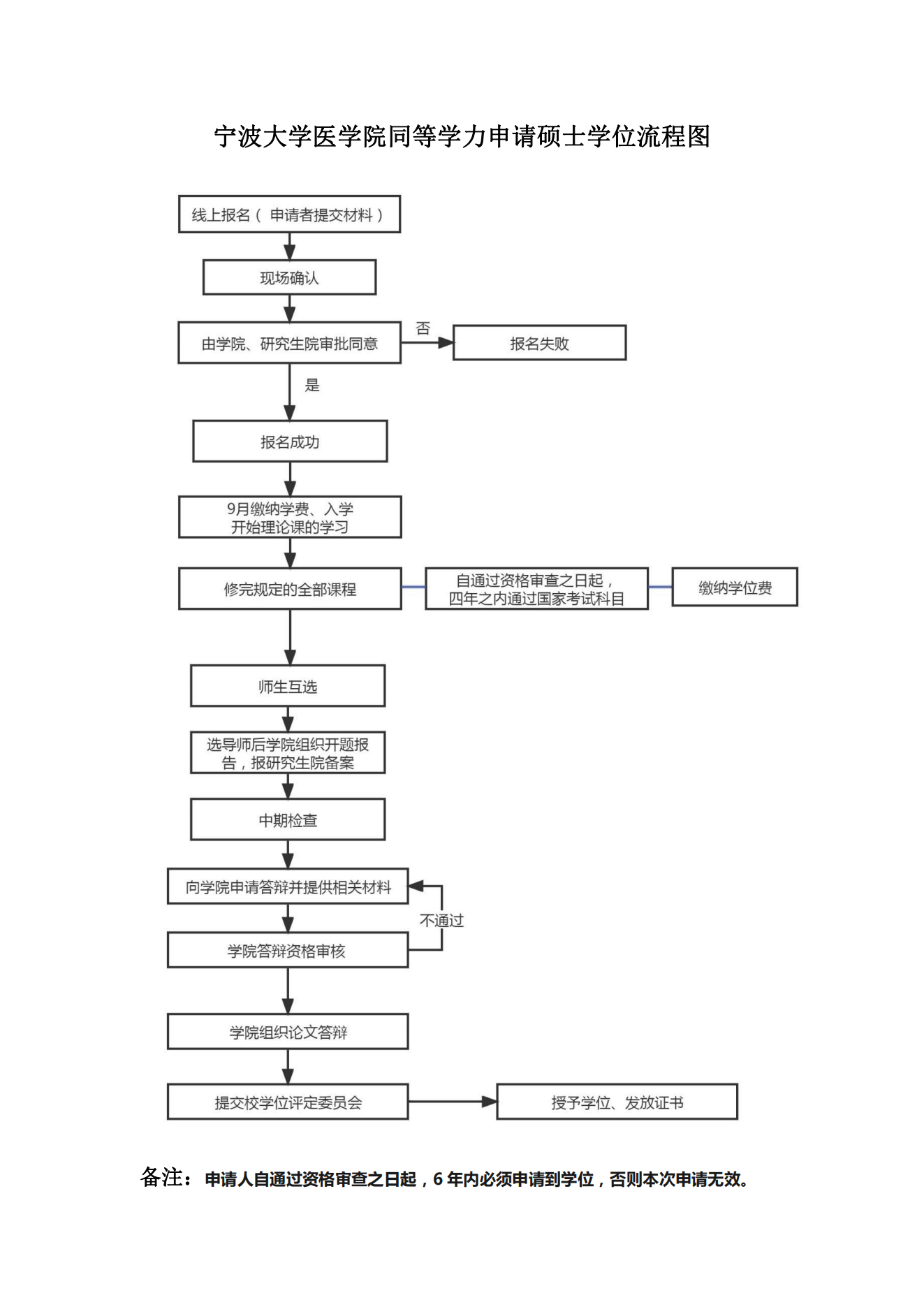
常用流程



快速入口  SHORTCUT